隨著新能源汽車的不斷增多,車用蓄電池不斷增多,但是蓄電池作為消耗品,在使用完后需要專門設備來處理,而目前普通的車用廢舊蓄電池處理設備在處理廢舊電池時,由于自動化程度不夠,往往不可避免的需要操作者與電池所有部件進行接觸,從而影響操作者的身體健康,而在處理過程中由于殘渣和廢液的處理不夠徹底,還會對大氣和水體等進行污染,破壞生態環境。
鞍提仕提供了一種能避免操作者與蓄電池接觸、減輕對操作者身體危害、避免大氣和水體污染、實現資源再次利用的廢舊蓄電池處理生產線。
![]() |
![]() |
![]() |
|
?結構組成:
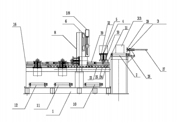
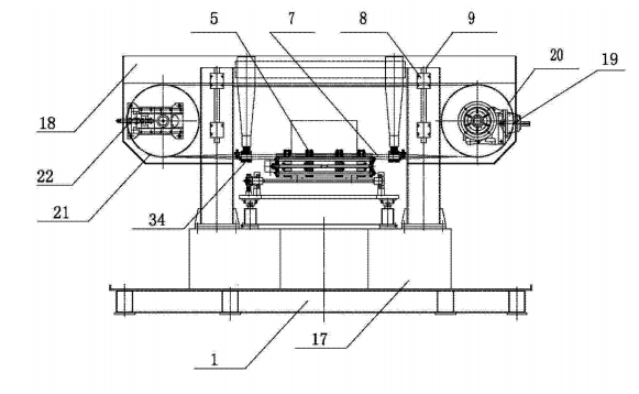
包括底座、電池輸入輥道、鋸切裝置、液壓系統、電氣系統、鋸切輸送軌道、電池蓋收集輥道、極板收集輥道、電池盒收集輥道、伺服翻轉小車、電池推入定位裝置等。其中,伺服翻轉小車上設有伺服電機、同步帶輪、同步帶、檢測裝置和夾緊裝置;鋸切裝置為臥式帶鋸床,包括床架、立柱、鋸架、主傳動系統、主動輪、從動輪、帶鋸條、液壓張緊系統和鋸帶導向裝置;鋸切輸送軌道包括導軌、齒輪和齒條,導軌上設有限位伺服剎車;底座上還設有殘渣沖洗回收裝置和廢液集中處理裝置。
![]() |
|
![]() |
|
![]() |
|
| 1.?底座,
2.?電池輸入輥道, 3.?電池推入定位裝置, 4.?伺服翻轉小車, 5.?夾緊裝置, 6.?鋸切裝置, 7.?帶鋸條, 8.?立柱, 9.?下降伺服電機, 10.?電池蓋收集輥道, 11.?極板收集輥道, 12.?電池盒收集輥道, 13.?殘渣沖洗回收裝置, 14.?液壓系統, 15.?電氣系統, 16.?鋸切輸送軌道, 17.?床架, |
18.?鋸架,
19.?主傳動系統, 20.?主動輪, 21.?從動輪, 22.?液壓張緊系統, 23.?導軌, 24.?齒輪, 25.?齒條, 26.?固定支架, 27.?推送氣缸, 28.?推送桿, 29.?同服電機, 30.?同步帶輪, 31.?同步帶, 32.?檢測裝置, 33.?電池, 34.?鋸帶導向裝置。 |
?工作過程:
人工將電池擺放在電池輸入輥道上,電池被輸送到電池推入定位裝置前的上料位置,然后被推入到伺服翻轉小車上,夾緊裝置夾緊電池,伺服翻轉小車將電池翻轉并送到臥式帶鋸床的鋸切位置,鋸切裝置進行鋸切,臥式帶鋸床鋸切完畢后電池蓋掉入電池蓋收集輥道,廢硫酸自動流出到廢液收集箱內;伺服翻轉小車后退,再次翻轉使電池極板掉入極板收集輥道,之后繼續后退,夾緊裝置松開,電池盒掉入電池盒收集輥道;極板下落后,殘渣沖洗回收裝置沖洗外殼內的鉛屑,沖洗后的水和廢硫酸通過廢液集中處理裝置處理。整個過程通過 PLC 系統控制,實現自動化工作。
?發明優勢:
該鋸切機生產線實現了廢舊電池從自動上料、自動定位鋸切、電池蓋分揀回收、極板分揀回收、外殼分揀回收、殘渣沖洗回收、廢液回收的自動化工作,避免了操作者與電池所有部件的接觸,減輕了對操作者身體的危害,同時實現了殘渣、廢液的全部回收利用,避免了對大氣和水體的污染,實現了資源的再次利用。
![]() |
![]() |
![]() |
![]() |
如果您有金屬鋸切方面的需求,歡迎來圖咨詢上海鞍提仕。我們有豐富的金屬鋸切方面的經驗,能夠為你設計出整條鋸切產線,給您提供專業的技術支持。
關鍵詞:鋸床,廢舊蓄電池鋸切,鋸切產線














獲取所需的產品報價
給出詳細的要求有助于獲得更匹配的定制解決方案。 謝謝您的耐心。 我們將在 1 小時內回復您,請注意查收您的電子郵件。